
Lütfen sipariş vermeden önce, ekipmanınızla tam uyum için teknik ölçüleri dikkatlice kontrol ediniz.
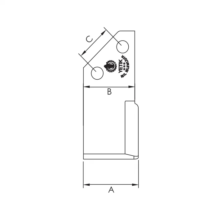
| Ürün Kodu | Ürün İsmi | A (mm) | B (mm) | C (mm) | Kalınlık | Ağırlık |
|---|---|---|---|---|---|---|
| 52050 - R | Avrupa Tip Kobra Bıçağı Sağ | 74 | 70 | 43 | 6 mm | 685 gr |
| 52050 - L | Avrupa Tip Kobra Bıçağı Sol | 74 | 70 | 43 | 6 mm | 685 gr |
Avrupa menşeli veya Avrupa standartlarına göre üretilmiş kültivatör ve çizel pulluklar için özel olarak tasarlanmış olan Yetik marka Avrupa Tipi Kobra Bıçakları, makinenizin orijinal performansını korumanızı sağlar. Zirai Sepet olarak sunduğumuz bu bıçaklar, "Kobra" formunun agresif toprak işleme yeteneğini, Avrupa tipi makinelerin hassas bağlantı geometrisiyle birleştirir.
Makinenizin tarla üzerinde dengeli ve stabil çalışması, toprağı her iki yönden eşit şekilde işlemesi için sağ ve sol bıçakların bir takım olarak kullanılması ve değiştirilmesi büyük önem taşır.
İthal veya Avrupa standartlarındaki ekipmanlarınız için doğru ve kaliteli yedek parçayı seçin. Zirai Sepet güvencesiyle, ihtiyacınız olan Yetik marka Avrupa Tipi Kobra Bıçağını (sağ ve sol olarak) ZiraiSepet.com üzerinden kolayca sipariş verin!
Sipariş ve Teslimat Bilgilendirmesi
Stokta bulunan ürünler için:
Siparişinizi saat 18:00’e kadar verirseniz, aynı gün kargoya teslim edilir ve genellikle ertesi gün adresinize ulaşır.
18:00’den sonra verilen siparişler:
Ürün stokta mevcutsa, ertesi gün kargoya verilir.
Stokta olmayan ürünler için:
Ürün tedarik süresine bağlı olarak, 1 ila 30 iş günü içerisinde teslim edilir.













