
Lütfen sipariş vermeden önce, ekipmanınızla tam uyum için teknik ölçüleri dikkatlice kontrol ediniz.
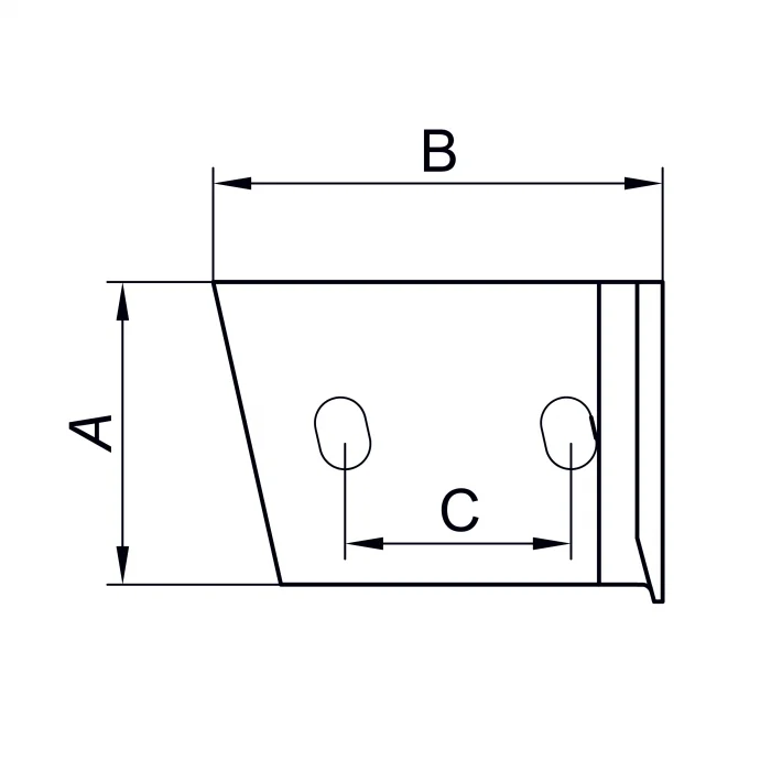
| Ürün Kodu | Ürün İsmi | A (mm) | B (mm) | C (mm) | Kalınlık | Ağırlık |
|---|---|---|---|---|---|---|
| 33122-R | Çizel Kanat Sağ | 70 | 105 | 53 | 7 mm | 760 gr |
| 33122-L | Çizel Kanat Sol | 305 | 105 | 53 | 7 mm | 760 gr |
Ağır tip kültivatör veya çizel pulluklarınızın fonksiyonelliğini bir üst seviyeye taşıyın. Zirai Sepet olarak sunduğumuz Yetik marka ağır tip çizel kanatları, mevcut çizel uçlarınıza (pabuçlarınıza) monte edilerek onların iş genişliğini ve yüzey işleme kabiliyetini artırmak için tasarlanmıştır. Bu kanatlar sayesinde, derin sürüm yapan çizeliniz, aynı zamanda etkili bir yabancı ot kontrolü ve tohum yatağı hazırlığı da yapabilen çok yönlü bir alete dönüşür.
Sağ ve sol olmak üzere takım halinde kullanılan bu kanatlar, her bir bacakta toprağı tam genişlikte keserek işlenmemiş alan kalmasını engeller.
Ekipmanınızı daha verimli ve çok fonksiyonlu hale getirmek için doğru parçaları seçin. Zirai Sepet güvencesiyle, ihtiyacınız olan Yetik marka ağır tip çizel kanatlarını (sağ ve sol olarak) ZiraiSepet.com üzerinden kolayca sipariş verin!
Sipariş ve Teslimat Bilgilendirmesi
Stokta bulunan ürünler için:
Siparişinizi saat 18:00’e kadar verirseniz, aynı gün kargoya teslim edilir ve genellikle ertesi gün adresinize ulaşır.
18:00’den sonra verilen siparişler:
Ürün stokta mevcutsa, ertesi gün kargoya verilir.
Stokta olmayan ürünler için:
Ürün tedarik süresine bağlı olarak, 1 ila 30 iş günü içerisinde teslim edilir.






















